Product Summary
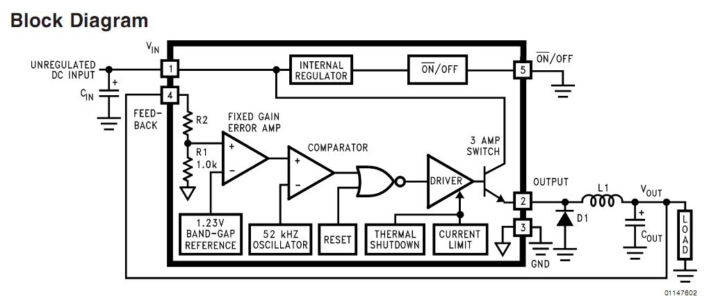
The LM2576HVSX-ADJ is a monolithic integrated circuit that provides all the active functions for a step-down (buck)switching regulator,capable of driving 3A load with excellent line and load regulation.The LM2576HVSX-ADJ offers a high-efficiency replacement for popular three-terminal linear regulators. Applications of the LM2576HVSX-ADJ include: Simple high-efficiency step-down (buck) regulator, Efficient pre-regulator for linea rregulators, On-card switching regulators and Positive toneg ative converter (Buck-Boost) .
Parametrics
LM2576HVSX-ADJ absolute maximum ratings: (1) Maximum Supply Voltage: 63V; (2) ON/OFF Pin Input Voltage: -0.3V≤V≤+VIN; (3) Output Voltage to Ground (Steady State) : -1V; (3) Power Dissipation: Internally Limited; (4) Storage Temperature Range: -65°C to +150°C; (5) Maximum Junction Temperature: 150°C; (6) Minimum ESD Rating (C=100pF,R=1.5kΩ) ; (7) Lead Temperature (Soldering,10Seconds) : 260°C; (8) Supply Voltage: 60V.
Features
LM2576HVSX-ADJ features: (1) .3V,5V,12V,15V,and adjustable output versions; (2) Guaranteed 3A output current; (3) Wide input voltage range,40V up to 60V for HV version; (4) Requires only 4 external components; (5) 52kHz fixed frequency internal oscillator; (6) TTL shutdown capability,low power standby mode; (7) High efficiency; (8) P+ Product Enhancement tested.
Diagrams

| Image | Part No | Mfg | Description | ![]() |
Pricing (USD) |
Quantity | ||||||||||||||
|---|---|---|---|---|---|---|---|---|---|---|---|---|---|---|---|---|---|---|---|---|
![]() |
![]() LM2576HVSX-ADJ |
![]() National Semiconductor (TI) |
![]() Switching Converters, Regulators & Controllers |
![]() Data Sheet |
![]()
|
|
||||||||||||||
![]() |
![]() LM2576HVSX-ADJ/NOPB |
![]() National Semiconductor (TI) |
![]() Switching Converters, Regulators & Controllers 3A STEP-DOWN VLTG REG |
![]() Data Sheet |
![]()
|
|
||||||||||||||
(China (Mainland))










