Product Summary
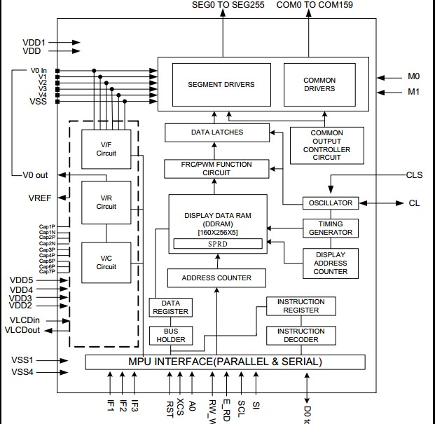
The T7531AML is a driver & controller LSI for 65K color graphic dot-matrix liquid crystal display systems. The T7531AML generates 256 Segment and 160 Common driver circuits. The T7531AML is connected directly to a microprocessor, accepts Serial Peripheral Interface (SPI) , 8-bit/16-bit parallel or IIC display data and stores in an on-chip display data RAM. The T7531AML performs display data RAM read/write operation with no external operating clock to minimize power consumption.
Parametrics
T7531AML absolute maximum ratings: Power Supply Voltage VDD, VDD1: -0.5V to +4.0V; (2) Power Supply Voltage VDD2, VDD3, VDD4: -0.5V to +4.0V; (3) ower Supply Voltage ( VDD standard), VLCDIN, VLCDOU; -0.5V to +20V; (4) Power Supply Voltage (VDD standard) V0, V1, V2, V3, V4: 0.3V to VLCDIN; (5) Input Voltage VIN: -0.5V to VDD +0.5V; (6) Output Voltage VO: -0.5V to VDD +0.5V;(7) Operating Temperature TOPR: -30°C to +85°C; (8) Storgae temperature (Die) TSTR: -40°C to +125°C.
Features
T7531AML features: (1) Driver Output Circuits; (2) Applicable Duty Ratios; (3) Microprocessor Interface; (4) On-chip display data RAM; (5) On-chip power analog circuit; (6) Temperature gradient coefficient; (7) LCD driving voltage (EEPROM) .
Diagrams

![]() |
![]() T7536 |
![]() Other |
![]() |
![]() Data Sheet |
![]() Negotiable |
|
||||
![]() |
![]() T7531A |
![]() Other |
![]() |
![]() Data Sheet |
![]() Negotiable |
|
||||
(China (Mainland))








